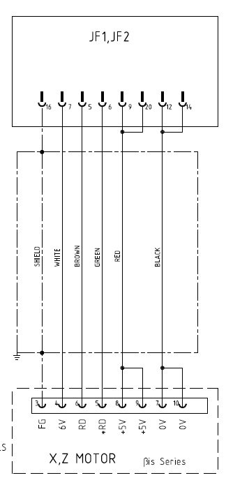
Description
This is a high-quality aftermarket encoder cable designed to be fully compatible with FANUC servo motor systems. Engineered to meet or exceed OEM specifications, it ensures stable encoder signal transmission for optimal CNC performance.
Features:
-
✅ Length: 5 meters
-
✅ Color: Green
-
✅ Connector Type: Standard circular encoder connector (FANUC-compatible)
-
✅ Shielded: Yes – minimizes signal interference
-
✅ Outer Jacket: Industrial-grade flexible PVC, oil- and abrasion-resistant
-
✅ Compatibility: Works with a wide range of FANUC Alpha/Alpha i Servo Motors and amplifier modules
Use Case:
-
Replacement for worn or damaged encoder cables
-
Ideal for CNC machine maintenance, retrofits, and upgrades
Compatibility Notes:
-
Compatible with FANUC part numbers such as:
A660-2005-T222#L5R,A860-2000-T321, and other similar encoder cable models (verify connector before purchase). -
Suitable for FANUC i-Series CNC systems and Alpha series servo motors.
Disclaimer:
This is an aftermarket product. FANUC® is a registered trademark of FANUC Corporation. We are not affiliated with or endorsed by FANUC. This cable is designed for compatibility only.
Warranty: 30-day replacement guarantee if found defective or non-functional.









Reviews
There are no reviews yet.